【1】E4A-3K의 경우

注1.동기운전이 필요한 경우, 슬라이드 스위치는 1대만 ON측으로 하고,
다른쪽은 OFF측으로 ⑦단자 ⑧단자끼리 접속해 주십시오.
注 2.동기운전은 50대까지 가능합니다.
注 3.동기 배선(⑦단자 및 ⑧단자의 배선)은 전력선과 동일하게 배관하지 말아 주십시오.
注 4.사용 코드는 외경 φ10이하입니다. 동기운전용 코드는 실드선을 사용해 주십시오.
注 5.동기운전할 경우, 모든 E4A-3 K는 전원을 넣어 주십시오.
1대라도 전원이 들어가지 않으면 모두 동작하지 않게 됩니다.
【2】E4C의 경우
단독/동기 전환 스위치(MON/SYN)
・1개소에 복수대를 사용할 경우는, 상호 간섭에 의한 오동작 방지를 위해서,
동기 운전을 해주십시오. (최대 4개)
・앰프부에 DC전원과 센서를 접속해 주십시오.
・앰프를 별매품 E99-C 접속커넥터에 접속해 주십시오.
■■아래와 같이 2개 이상을 연결 할 경우는, 동기 운전하는 도중에 1대만(이번회에 No.1으로 한다)
전환 스위치를 “MON”으로 해주십시오.
그 외는 모두 전환 스위치를 “SYN”로 해주십시오

注.상기 접속 커넥터는 반사형 타입에 상당히 효과적입니다.
단 투과형 타입에서도 접속은 필요하지만, 상호 간섭 효과가 적기 때문에,
평행이동특성도를 참조한 후 센서부의 간격을 벌려주십시오.
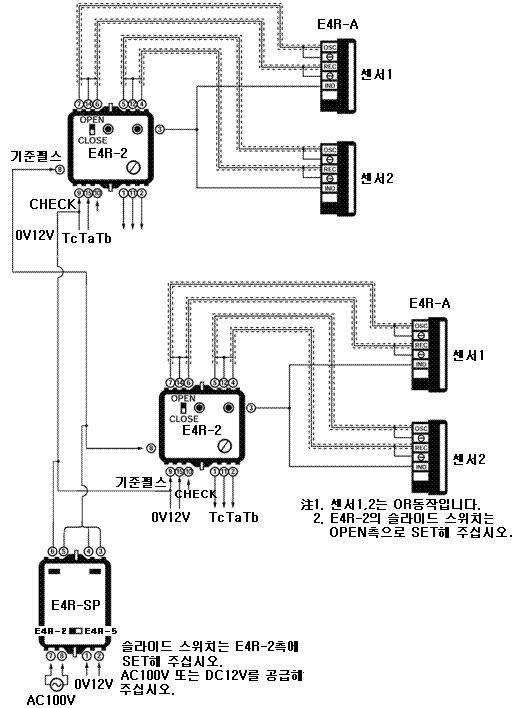
【3】形E4R의 경우
기준 펄스 유니트
E4R-2의 전원부를 1개소에 복수개를 사용하는 경우는, E4R-SP 기준 펄스 유니트를
사용해 주십시오.
E4R-SP에서 발생하는 기준 펄스로 동기를 잡아, E4R-2를 10대까지 간섭 오동작 없이
동기 운전할 수 있습니다.
동기운전에 대해서는 링크
☞ 
를 참조해 주십시오.