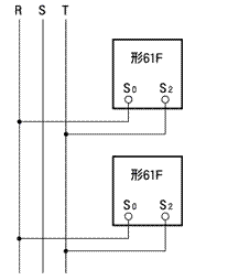
전극봉은 공용할 수 없습니다.
동일 전극에 복수개의 61F본체를 접속하지 마시기 바랍니다.
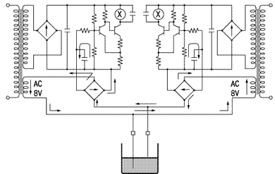
전극 회로 AC8V 전원의 전압 위상이 예를 들어, 그림 1과 같이 거꾸로
되면 화살표와 같이 서로의 내부 회로를 통과하는 폐회로(회전회로)가
생겨 61F본체는 전원을 인가하는 것만으로 수위와 상관없이 (오)동작합니다.
이 경우, 그림2와 같이 전원의 위상을 맞추는 것으로 회전 회로는 막을
수 있지만, 전극에서 본 61F측의 내부 저항이 약1/2로 낮아집니다.
복수개의 61F 본체에 접속되는 각 전극봉은 상호 간섭이 발생하지 없도록
떨어뜨려 놓고 사용해 주세요.
다만, common전극의 공용에 대해서는 문제없습니다.
<그림1> 회전회로의 예
<그림2> 위상을 맞춘다
