OMRON IA Global
Sitemap Login Sign Up
Home > Support > FAQs
FAQs
광전센서의 표준 코드와 로봇 코드와의 내굴곡성 차이
내굴곡 횟수는 표준 코드에서는 약 1.3만회, 로봇 코드에서는 약 50만회 정도 실시합니다.

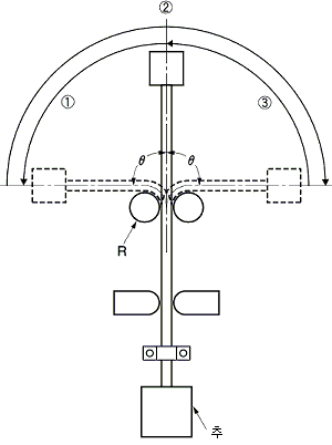
굴곡파괴시험(강인(强靭)단선시험)
통전되면서 굴곡을 반복하여, 전류가 차단될 때까지의 굴곡횟수를 조사함






※ 표준 코드와 로봇 코드의 시험조건이 다릅니다.
하기의 내용을 참고해주세요.

굴곡각도    45°       40~50% 차이
                90°
하중          200g     50% 차이
                300g
지점의 곡률반경
                φ5        2.5~4배 차이
                φ10


<<참고>>
1.표준코드의 굴곡반경에 대해서는 링크를 참조해주세요.
☞바로가기

2.동축선, 실드선의 경우, 코드의 최소굴곡반경에 대해서는 링크를 참조해주세요.
☞바로가기



 
FAQs
고객 문의
제품 A/S 안내
대리점 및 관련 회사 소개
GLOBAL NETWORK
GLOBAL SERVICE
Q & A
종합 대리점
전화 문의
전문 대리점
방문 문의
A/S 전문 대리점
종합 카탈로그
AOI & AXI 대리점
물류
Top of page
한국오므론제어기기주식회사
서울 서초구 강남대로 465, B동 18층 (서초동, 교보빌딩) 대표:김영호 / 사업장등록번호 : 211-87-79826
OMRON Korea | 개인정보 처리방침 | 이용약관 및 권장환경 | 마케팅 정보 활용방침 | 주문에 관한 동의 사항 |
한국 Autonics사에 대한 특허권 침해 소송 제기와 소송 판결(승소)의 통지
Copyright (C) 2008-2024 Omron Electronics Korea Co., Ltd. All Rights Reserved.